Maintaining key features and reducing customer costs is Juniper's eternal pursuit
Maintaining key features and reducing customer costs is Juniper's eternal pursuit
The cutting nozzle of a laser cutting machine is one of the main consumables that plays a vital role in the process. Despite the rapid development of the laser cutting machine industry, the cutting nozzle has changed relatively little in recent years. However, due to the laser nozzle about the material conductivity and other aspects of the higher requirements, its cost is still high, although there have been some attempts but the cost has not been effectively improved, in fact, in the production has not been widely used.
For single-layer laser cutting nozzles, the following three nozzles are the most widely used:
- Tapered nozzles are the most commonly used and offer excellent cut quality and high precision. They are mainly used for nitrogen cutting of stainless steel and for fine cuts requiring high precision and surface.
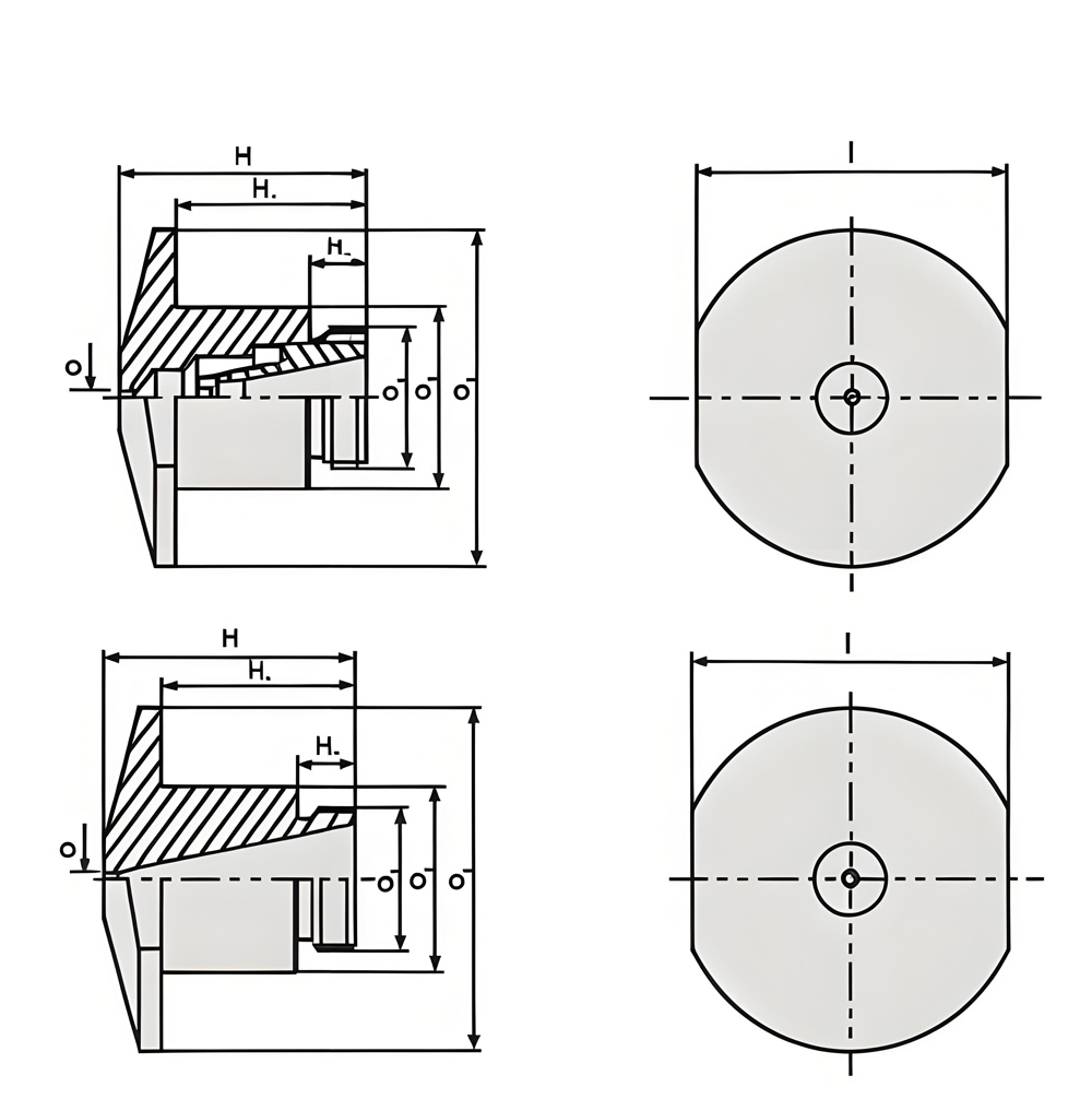
- The double-layer laser cutting nozzle is actually a simplified version of the laboratory research supersonic nozzle, the structure of which is shown in the figure below:

The auxiliary gas passes through the inner core and expands twice, thus increasing the gas velocity, and then reaches the working surface through the end holes. The advantage of this design is that it reduces surge generation and increases the gas velocity, thus increasing the involvement of the gas in the cutting process and improving the efficiency of slag and heat removal.
Double nozzles are mainly used for high speed cutting due to the higher gas flow rate. For oxygen cutting of carbon steel, the double-deck nozzle is usually chosen because it has a faster cutting speed, but the kerf is wider and the cutting surface is blackened by oxidation.
When choosing the nozzle of the laser cutting machine, it must be selected reasonably according to the processed materials and processing requirements, so as to make the laser cutting quality more perfect.
JUNZE combined with the actual function of the laser nozzle, namely: sensing head electrical signal induction, guiding the airflow, to prevent the cutting head and plate collision triggered by the cutting head key components of the damage to the laser nozzle modification, reduce the amount of metal material, but the use of injection molding outside the threaded surface to increase the plastic cladding, so that the nozzle's original quality to remain unchanged at the same time, the cost decreased by more than 20%. At present, the program has declared a patent and processing test in the user, is expected to soon be promoted on the market.
The quality of the nozzle is directly related to the quality of the entire laser cutting machine, only the choice of the right laser accessories to achieve high application efficiency and cost reduction, so as to ensure that the processing cost of controllable and reliable. Junze laser is a professional engaged in laser accessories research and development of enterprises, is committed to the laser accessories and laser cutting accessories research and development and sales. We insist on implementing scientific and technological research and development and practical and reliable transformation process to ensure stable and reliable product quality.
At the same time, we have established a strong supply chain system to solve the problems encountered by users in the process of installation and use, to ensure the continuity of high-quality production process. We wholeheartedly provide customers with better quality products, which is our common pursuit of the goal and purpose.

